Top.Mail.Ru

Сильфонные компенсаторы SANEXT

Описание

Осевые сильфонные компенсаторы с защитным кожухом предназначены для компенсации и поглощения осевых температурных деформаций в стальных трубопроводах систем водоснабжения, теплоснабжения и отопления многоэтажных зданий. Для систем питьевого водоснабжения предусмотрена отдельная линия компенсаторов с присоединительными патрубками из нержавеющей стали (арт 7401–7411). Осевые сильфонные компенсаторы устанавливаются на прямолинейных участках трубопроводов, ограниченных неподвижными опорами.

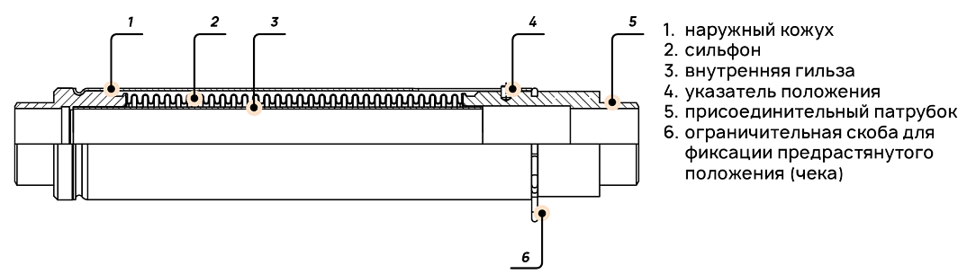
Устройство

Основной элемент осевого сильфонного компенсатора – сильфон – упругая гофрированная металлическая оболочка, способная растягиваться или сжиматься под действием давления, температуры, силы или момента силы. Осевые сильфонные компенсаторы оснащены внутренней гильзой и наружным кожухом для дополнительной защиты сильфона.

Принцип работы

Сильфон воспринимает температурное изменение длины трубопровода, сжимается и разжимается по принципу «гармошки» (упруго деформируется). Если температура теплоносителя увеличивается, то трубопровод удлиняется и сжимает сильфон компенсатора. Если температура теплоносителя снижается, то трубопровод уменьшает свою длину и растягивает сильфон компенсатора.

Сильфонный компенсатор
Сильфонный компенсатор характеристики
+7(812)317-21-11

Выберите город

Запросить предложение

Подписаться на рассылку

Выберите тематику рассылки

Монтажникам Монтажникам
Дилерам Дилерам
Проектировщикам Проектировщикам
Застройщикам Застройщикам